硬质合金焊接刀片
Cemneted carbide brazed tips |
| ·国家标准Tips
as per ISO
|
 |
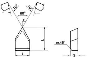
·HB3型
制造凸圆弧成型车刀(Type)
For making convex turning tools
Type |
Dimension(mm) |
Right |
Left |
L |
t |
S |
R |
r |
HB312 |
B312Z |
12.0 |
8.0 |
4.0 |
8.0 |
3.0 |
HB315 |
B315Z |
15.0 |
10.0 |
5.0 |
10.0 |
5.0 |
HB318 |
B318Z |
18.0 |
12.0 |
6.0 |
12.0 |
6.0 |
HB322 |
B322Z |
22.0 |
16.0 |
7.0 |
16.0 |
10.0 |
|
 |
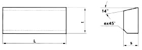
·HC1型
制造螺纹车刀及外圆精车刀(Type)
For making threading
tools
Type |
Dimension(mm) |
L |
t |
S |
r |
e |
HC110 |
10.0 |
4.0 |
3.0 |
0.5 |
- |
HC116 |
16.0 |
6.0 |
4.0 |
0.5 |
0.8 |
HC120 |
20.0 |
8.0 |
5.0 |
0.5 |
0.8 |
HC122 |
22.0 |
10.0 |
6.0 |
0.5 |
0.8 |
HC125 |
25.0 |
12.0 |
7.0 |
0.5 |
0.8 |
|
 |
·HC2型
制造精车刀和梯形螺纹车刀(Type)
For making fine fuming and trapezoid
thread tuning tools
Type |
Dimension(mm) |
L |
t |
S |
b |
e |
HC215 |
15.0 |
7.0 |
4.0 |
1.8 |
- |
HC218 |
18.0 |
10.0 |
5.0 |
3.1 |
0.8 |
HC223 |
23.0 |
14.0 |
5.0 |
4.9 |
0.8 |
HC228 |
28.0 |
18.0 |
6.0 |
7.7 |
0.8 |
HC236 |
36.0 |
28.0 |
7.0 |
13.1 |
0.8 |
|
 |
·HC3型
制造切断刀和切槽刀(Type)
For making cut-off and groving tools
Type |
Dimension(mm) |
L |
t |
S |
e |
HC303 |
12.0 |
3.5 |
3.0 |
- |
HC304 |
14.0 |
4.5 |
4.0 |
0.8 |
HC305 |
17.0 |
5.5 |
5.0 |
0.8 |
HC306 |
17.0 |
6.5 |
6.0 |
0.8 |
HC308 |
20.0 |
8.5 |
7.0 |
0.8 |
HC310 |
22.0 |
12.5 |
8.0 |
0.8 |
HC312 |
22.0 |
12.5 |
10.0 |
0.8 |
HC316 |
25.0 |
16.5 |
11.0 |
1.2 |
|
 |
·HC4型
制造加工三角皮带轮切槽刀(Type)
For making v-belt wheel grooving tools
Type |
Dimension(mm) |
L |
B |
C |
b |
HC420 |
20.0 |
12.0 |
5.0 |
3.0 |
HC425 |
25.0 |
25.0 |
5.0 |
4.0 |
HC430 |
30.0 |
30.0 |
6.0 |
5.5 |
HC435 |
35.0 |
35.0 |
6.0 |
7.5 |
HC442 |
42.0 |
42.0 |
8.0 |
12.5 |
HC450 |
50.0 |
50.0 |
8.0 |
15.0 |
|
 |
·HD1型
制造面铣刀(Type)
For making face mils
Type |
Dimension(mm) |
Right |
left |
L |
B |
C |
R |
r |
HD110 |
D110Z |
10.0 |
8.0 |
2.5 |
8.0 |
0.5 |
HD112 |
D112Z |
12.0 |
10.0 |
3.0 |
10.0 |
0.5 |
HD115 |
D115Z |
15.0 |
12.0 |
3.5 |
12.5 |
0.5 |
HD120 |
D120Z |
20.0 |
16.0 |
4.0 |
16.0 |
1.0 |
HD125 |
D125Z |
25.0 |
20.0 |
5.0 |
20.0 |
1.0 |
HD130 |
D130Z |
30.0 |
20.0 |
6.0 |
20.0 |
1.0 |
|
 |
·HD2型
制造三面刃铣刀 T型槽铣刀和浮动镗刀(Type)
For making three-edged mills,T-grooving mills
and floating boring tools
Type |
Dimension(mm) |
L |
t |
s |
e |
HD206 |
6.0 |
7.0 |
3.0 |
- |
HD208 |
8.0 |
4.0 |
3.0 |
- |
HD210 |
10.0 |
5.0 |
3.0 |
- |
HD210A |
10.0 |
10.0 |
3.0 |
- |
HD212 |
12.0 |
6.0 |
3.0 |
- |
HD212A |
12.0 |
12.0 |
3.5 |
0.8 |
HD214 |
14.0 |
7.0 |
3.5 |
0.8 |
HD214A |
14.0 |
12.0 |
3.5 |
0.8 |
HD216 |
16.0 |
7.0 |
3.5 |
0.8 |
HD216A |
16.0 |
12.0 |
3.5 |
0.8 |
HD218 |
18.0 |
5.0 |
3.0 |
- |
HD218A |
18.0 |
7.0 |
3.5 |
0.8 |
HD218B |
18.0 |
12.0 |
3.5 |
0.8 |
HD220 |
20.0 |
10.0 |
4.0 |
0.8 |
HD222 |
22.0 |
6.0 |
3.0 |
- |
HD222A |
22.0 |
14.0 |
4.0 |
0.8 |
HD224 |
24.0 |
14.0 |
4.0 |
0.8 |
HD226 |
26.0 |
10.0 |
5.0 |
0.8 |
HD226A |
26.0 |
14.0 |
5.0 |
0.8 |
HD228 |
28.0 |
10.0 |
4.0 |
0.8 |
HD230 |
20.0 |
14.0 |
5.0 |
0.8 |
HD232 |
32.0 |
12.0 |
5.0 |
0.8 |
HD232A |
32.0 |
14.0 |
4.0 |
0.8 |
HD236 |
36.0 |
14.0 |
4.0 |
0.8 |
HD238 |
38.0 |
12.0 |
5.0 |
0.8 |
HD240 |
40.0 |
14.0 |
5.0 |
0.8 |
HD246 |
46.0 |
14.0 |
5.0 |
0.8 |
|
| |
|